当前位置:主页 > 我们的产品 > 阀门附件 >

2016-03-23

分享
  • 分享到微信朋友圈

电感式传感器

  • 产品描述

 电感式传感器是一种信号发生器,可非接触感测金属物体的运动,并将检测结果转化为电信号输出。电感式传感器广泛应用于机器人、生产线、机械加工及传送系统等场合。

 

电感式传感器具有以下特点
      1.传感器能感测和记录所有导电物体
      2.传感器是非执着触式的
      3.传感器的传感头无需配专门的机械装置
      4.传感器靠电子元件捕获感测信号


电感式传感器具有以下优点:
      —无机械磨损
      —正常使用中,不会出现焊点烧损或熔化,也不会因被玷污而影响其性能
      —不会因为被测物碰撞而造成信号丢失
      —切换频率高达3000Hz
      —抗振动
      —装配灵活
      —系统全封装,防护等级高

检测距离:
      额定检测距离Sn
      特征值,不考虑制造公差或由温度或电压引起的偏差。


      实际检测距离Sr
      与额定检测距离的偏差最大为±10%。


      有效检测距离Su
      在所有规定的电压和温度范围内的检测距离,
      它与实际检测距离可存在最大±10%。


      可靠检测距离Sa
      在允许工作条件下的检测距离,在0到最小有效检测蹁之间取值。



开关元件功能:
      有以下几种不同的功能:
      —常开触点
      传感器在触发状态时有电流通过,当传感器在非触发状态时无电流通过。

      —常闭触点
      当传感器在触发状态时无电流通过,传感器在非触发状态时有电流通过。

      —常/开闭触点
      具有常开和常闭两种功能,可供选择。

 

       

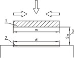
                      1.检测板(钢)St 37    在指定的检测距离内,当一个金
2.检测面    属物体靠近电感式传感器的检测             
3.检测距离    面时会产生一个电信号。 

 

 

 

为什么选择我们

天星阀门有限公司是一家集开发、生产、销售为一体的股份制私营企业,公司技术力量雄厚,拥有众多技术人员,设有CAD的设计中心,在原有的基础上不断开发新产品,并先后与国内各大设计院密切合作,消化移植了多项国内先进技术,先后研发出以高炉系统阀门为主体的治金、化工、矿山、电站、建材、污水处理八大类,百多种上千个规格的大型阀门。

常见问题

  • 公司主要生产哪些产品?
    公司主要供应盲板阀,手动盲板阀,插板阀,百叶阀,方形百叶阀等产品。
  • 贵公司是生产厂家还是贸易公司?
    我们是生产厂家,专业生产各种阀门。
  • 当我需要报价时,我应该提供哪些信息?
    通常情况下,请将您所需要的产品名称及型号发送给我们,例如型号、尺寸等,以便我们可以准确报出价格,以便满足您的需求。
  • 我们销售其他品牌的阀门吗?
    我们不销售其他品牌的阀门,但如果我们的品牌适合您,您可以向我们发送您的详细规格要求。获取报价
  • 所需阀门的规格要求可以定制吗?
    可以定制,请将您所需要定制的阀门详细要求发给我们。
  • 如果我急需这些阀门,多长时间供货?
    如果您急需要订购阀门,我们可以为您调货处理或紧急安排生产,争取短时间内为您发货。
更新时间:2021-5-12  点击次数:
本文链接:https://www.tx-valve.com/chanpin/famenfujian/2011/0720/161.html
上一篇:美国进口ASCO电磁阀
下一篇:XLHJ系列手动机构

推荐产品

Copyright 2010 永嘉县天星阀门有限公司 24小时联系电话:(0)13738390801 主营:蝶阀,硬密封蝶阀,通风蝶阀,电动蝶阀,气动蝶阀,气动通风蝶阀,不锈钢蝶阀,电动通风蝶阀,美标蝶阀